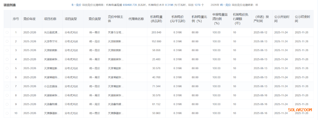
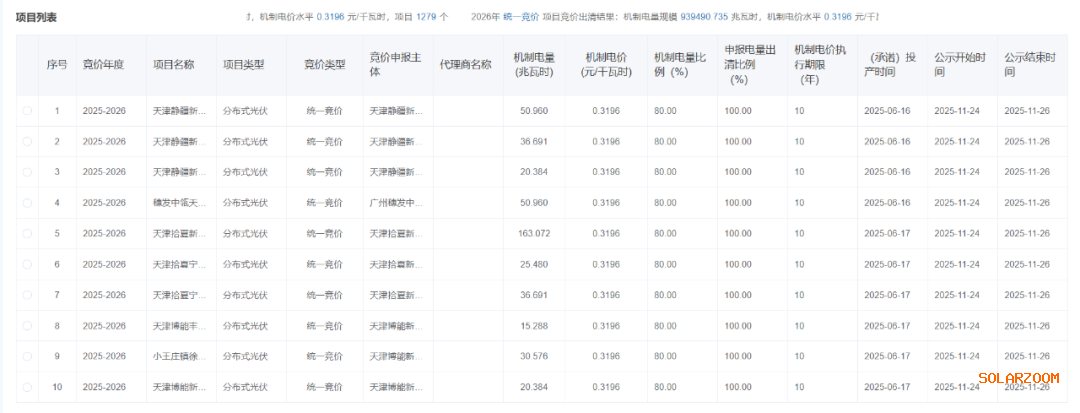
11月24日,国网新能源云公示天津市2025~2026年机制电价竞价结果。
2025~2026年统一竞价项目竞价出清结果:机制电量规模939490.735兆瓦时,机制电价水平0.3196元/千瓦时,项目1279个。
10月29日,天津市发改委发布竞价通知,
1)机制电量总规模为40亿千瓦时,充足率为125%,此次仅用了9.3949亿千瓦时!
2)竞价上限:为0.32元/千瓦时,不设置竞价下限。
3)机制电价执行期限:为10年。
最近完成机制电价竞价的三个省份,安徽、上海、天津,机制电量都未用完,如下表所示。
表:安徽、上海、天津机制电量分配与使用情况(单位:亿度)
目前已经完成竞价的省份,机制电价出清结果与当地脱硫煤价格对比,如下图所示。
部分入围项目如下图所示。

